SONY CORPORATION
DDU 220E/H
|
Device Type |
External DVD-ROM |
|
Interface |
IDE(AT) |
|
Spin Rate (Read) |
5x (DVD), 24x (CD-ROM) |
|
Formats Supported Read |
CD-Audio, CD-XA, CD-I, CD-ROM (Mode 1), Photo-CD, Video CD, CD-Plus, CD-RW, CD-Text, DVD Video, DVD-ROM, DVD-R |
|
View |
Top |
|
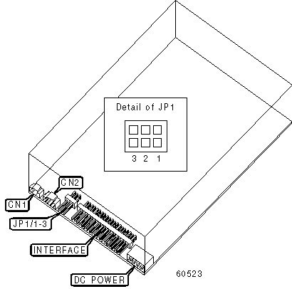
CONNECTIONS | |||
|
Function |
Label |
Function |
Label |
|
Reserved |
CN1 |
Audio line out |
CN2 |
|
MASTER/SLAVE SELECTION | ||||
|
Setting |
JP1/1 |
JP1/2 |
JP1/3 | |
| » |
Master in two drive system |
Closed |
Open |
Open |
|
Slave in two drive system |
Open |
Closed |
Open | |
|
Master/Slave determined by cable select |
Open |
Open |
Closed | |