SEAGATE TECHNOLOGY, INC.

SIDEWINDER 200 INTERNAL

Device Type

Internal Tape Drive

Interface

SCSI-2 Fast/Wide

Format

AIT-1

Sustained Transfer Rate

3MBPS (Native), 6 to 9MBPS (Compressed)

Size

3.5 in. half height

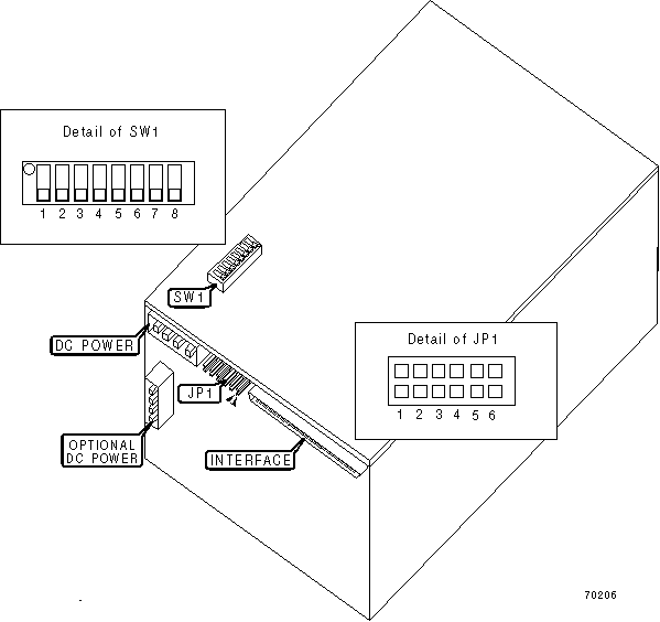
View

Bottom

USER CONFIGURABLE SETTINGS

Setting

Label

Position

»

Parity check enabled

JP1/1

Open

 

Parity check disabled

JP1/1

Closed

»

Factory configured - do not alter

JP1/2

Unidentified

»

Factory configured - do not alter

SW1/1

Unidentified

»

Factory configured - do not alter

SW1/2

Unidentified

»

Factory configured - do not alter

SW1/3

Unidentified

»

Factory configured - do not alter

SW1/4

Unidentified

»

Termination enabled

SW1/6

On

 

Termination disabled

SW1/6

Off

»

Data compression enabled

SW1/7

On

 

Data compression disabled

SW1/7

Off

»

Factory configured - do not alter

SW1/8

On

DRIVE SELECT ID

Drive ID

JP1/3

JP1/4

JP1/5

JP1/6

»

0

Open

Open

Open

Open

 

1

Open

Open

Open

Closed

 

2

Open

Open

Closed

Open

 

3

Open

Open

Closed

Closed

 

4

Open

Closed

Open

Open

 

5

Open

Closed

Open

Closed

 

6

Open

Closed

Closed

Open

 

7

Open

Closed

Closed

Closed

 

8

Closed

Open

Open

Open

 

9

Closed

Open

Open

Closed

 

10

Closed

Open

Closed

Open

 

11

Closed

Open

Closed

Closed

 

12

Closed

Closed

Open

Open

 

13

Closed

Closed

Open

Closed

 

14

Closed

Closed

Closed

Open

 

15

Closed

Closed

Closed

Closed

TERMINATION POWER SELECTION

Setting

SW1/5

»

TERMPWR supplied by drive

On

 

TERMPWR supplied by SCSI interface to drive

Off

MANUFACTURERS RECOMMENDED MEDIA

Tape

Capacity Without Compression

Capacity With Compression

AIT-1

100GB

250+ GB

DIAGNOSTIC LED(S)

LED

Color

Status

Condition

LED1

Green

On

SCSI interface is ready for data transfer

LED1

Green

Blinking

Drive is either searching for data, reading/writing to tape, or rewinding the tape

LED1

Green

Off

Drive is not in use

LED2

Green

On

Cartridge is loaded into drive

LED2

Green

Blinking

Cartridge is unloaded from drive

LED2

Green

Off

No cartridge is loaded in drive