CONNER PERIPHERALS, INC.

CTT8000R-S

Device Type

Tape Drive

Interface

SCSI-2

Format

QIC-WIDE, Travan TR-4, Quarter Inch

Sustained Transfer Rate

600KBPS

Size

3.5 in. half height

View

Bottom

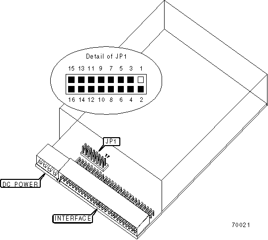
USER CONFIGURABLE SETTINGS

Setting

Label

Position

 

Parity enabled

JP1/Pins 7 & 8

Closed

 

Parity disabled

JP1/Pins 7 & 8

Open

»

Factory configured - do not alter.

JP1/Pins 9 & 10

Unidentified

»

Factory configured - do not alter.

JP1/Pins 11 & 12

Unidentified

 

Active termination enabled

JP1/Pins 13 & 14

Closed

 

Active termination disabled

JP1/Pins 13 & 14

Open

DRIVE SELECT ID

Drive ID

JP1/Pins 1 & 2

JP1/Pins 3 & 4

JP1/Pins 5 & 6

0

Open

Open

Open

1

Open

Open

Closed

2

Open

Closed

Open

3

Open

Closed

Closed

4

Closed

Open

Open

5

Closed

Open

Closed

6

Closed

Closed

Open

7

Closed

Closed

Closed

TERMINATION POWER SELECTION

Setting

JP1/Pins 15 & 16

»

TERMPWR supplied by drive

Closed

 

TERMPWR supplied by SCSI interface to drive

Open

MANUFACTURERS RECOMMENED MEDIA

Tape

Capacity Without Compression

Capacity With Compression

Travan 740 Ft.

(Conner® 8000 TR4;

3M® Travan TR-4)

4.0GB

8.0GB

Standard 900 Oe 400 Ft. (3M® miniMAGNUS 3080)

1.6GB

3.2GB

QIC Wide 900 Oe 400 Ft. (Conner® 4000QT;

Sony® QW3095XLF)

2.0GB

4.0GB

DIAGNOSTIC LED(S)

LED

Color

Status

Condition

LED1

Green

On

Tape movement initiated

LED1

Green

Off

Tape not moving or tape not loaded

Note: LED1 is lit when drive reads all but the beginning of the tape.