ZENITH DATA SYSTEMS
Z-286
|
Processor |
80286 |
|
Processor Speed |
8MHz |
|
Chip Set |
Unidentified |
|
Video Chip Set |
None |
|
Maximum Onboard Memory |
3.15MB |
|
Maximum Video Memory |
None |
|
Cache |
None |
|
BIOS |
Unidentified |
|
Dimensions |
Unidentified |
|
I/O Options |
CPU slot, Zenith expansion slots (2) |
|
NPU Options |
80287 |
|
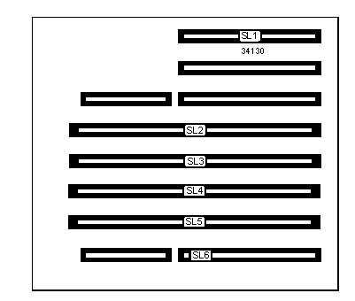
CONNECTIONS | |||
|
Purpose |
Location |
Purpose |
Location |
|
Video slot |
SL1 |
CPU slot |
SL4 |
|
Zenith expansion slot |
SL2 |
I/O slot |
SL5 |
|
00Zenith expansion slot |
SL3 |
Floppy slot |
SL6 |
|
DRAM CONFIGURATION |
|
Note: The location of the memory is unidentified. |
|
USER CONFIGURABLE SETTINGS | |||
|
Function |
Label |
Position | |
|
Expansion ROM select 16KB |
J201 |
Pins 2 & 3, 4 & 5 closed | |
|
Expansion ROM select 32KB |
J201 |
Pins 1 & 2, 3 & 4 closed | |
|
NPU SPEED SELECTION | ||
|
Speed |
J203 |
J204 |
|
6MHz |
Pins 1 & 2 closed |
Pins 1 & 2 closed |
|
8MHz |
Open |
Pins 2 & 3 closed |